Вы можете войти на сайт, если вы зарегистрированы на одном из этих сервисов
Простой поиск
Введите полностью или частично: Каталожный №, Артикул
или Наименование товара.
Расширенный поиск
Введите раздельно Каталожный № или
Артикул и Наименование товара в разных полях.
Это позволит получить более точный результат, сузив итоговый список
Поздравляем! Вы успешно зарегистрировались на сайте
www.opex.ru и стали членом команды «ОРЕХ»
Теперь Вам доступны все преимущества и специальные
возможности
На указанный Вами e-mail
отправлен запрос на подтверждение регистрации и доступы для входа на сайт.
Балашиха магазин запчастей
БАЛАШИХА СТО
+7 (495) 025-42-22
+7 (915) 091-80-94
ЧЁРНАЯ ГРЯЗЬ СТО
+7 (495) 025-42-22
+7 (916) 701-14-35
Одинцово
+7 (499) 678-21-54
+7 (906) 761-67-17
Чёрная Грязь
+7 (499) 678-21-59
+7 (499) 678-33-61
Дмитровский
+7 (495) 744-70-47
+7 (495) 484-41-27
Уважаемые клиенты, цены на сайте действуют исключительно при заказе в интернет-магазине!
Уважаемыемы клиенты и партнеры! Поздравляем вас с Днём Народного Единства! Сообщаем, что в связи с праздником АО «ОРЕХ» с 2 по 4 ноября не работает!
САМОВЫВОЗ. При самовывозе заказа просим за 30 минут до приезда предупредить вашего персонального менеджера. Юр. лицам для получения заказа необходимо обращаться к менеджерам торгового зала.
Обращаем Ваше внимание, что обновление цен на товары в наличии происходит каждый день.
Срок действия счёта на оплату – три дня. Время нахождения товара под счёт в резерве – три дня. Цены на товары категории «под заказ» уточняйте у менеджеров.
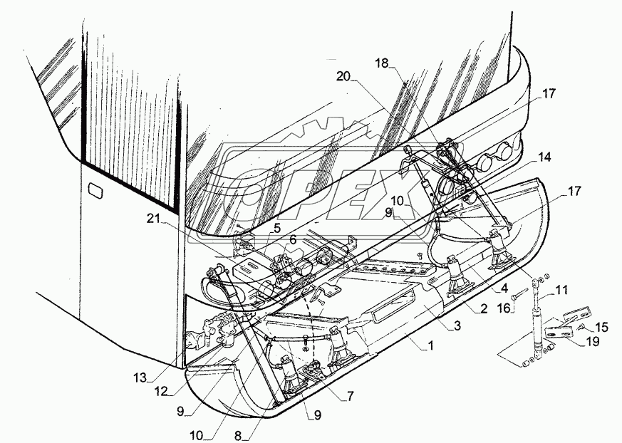
Автокаталог — FRONT FLAP N 516 SHD (MB) E2 - N516 SHD, N516/3 SHDL (110)
№
Номер детали
Наименование детали
Каталог
FRONT BUMPER CPL. (1701.163.90)
Дополнительная информация
Количество
1
Примечание
03.1598.00
FRОNТ ВUМРЕR (1701.163.91)
Дополнительная информация
Количество
1
Примечание
03.1598.00.1
AIR DUCT (1701.163.92)
Дополнительная информация
Количество
1
Примечание
03.1598.00.2
WАRМ-АIR DUСТ (1701.163.93)
Дополнительная информация
Количество
1
Примечание
03.1598.00.3
CABLE PULL (0128.207.10)
Дополнительная информация
Количество
1
Примечание
283-U-MB/04, L1=500/L2=700mm
HOOD LATCH (2106.011.00)
Дополнительная информация
Количество
1
Примечание
126 880 00 60
LOCK (2106.011.50)
Дополнительная информация
Количество
1
Примечание
126 880 08 60
JЕТ FОR НЕАDLАМР СLЕАNING (1507.045.15)
Дополнительная информация
Количество
4
Примечание
8WT 007 248-01
РVС-НОSЕ (1801.584.00)
Дополнительная информация
Примечание
TR 10x2mm, D=10mm
Y-СОNNЕСТIОN (2002.918.00)
Дополнительная информация
Количество
2
Примечание
65010, D=10mm
GAS-FILLED SPRINGDEVICE (1912.111.00)
Дополнительная информация
Количество
1
Примечание
10-28-120-1-400-500N
VALVE (2406.251.00)
Дополнительная информация
Количество
1
Примечание
10201
ТRUМРЕТ НОRN (1512.050.00)
Дополнительная информация
Количество
2
Примечание
56 360027
CHECK STRAP (CHECKSTRAP)
Дополнительная информация
Количество
2
HEXAGON SCREW (5050.046.01)
Дополнительная информация
Количество
8
Примечание
DIN 933 VERZINKT, M6x16mm
SCREW (5050.080.01)
Дополнительная информация
Количество
2
Примечание
DIN 933 VERZINKT, M8x25mm
SCREW (5040.064.01)
Дополнительная информация
Количество
4
Примечание
DIN 933 VERZINKT, M8x60mm
NUT (5095.006.00)
Дополнительная информация
Количество
6
Примечание
DIN 985, M8-8
GAS-SPRING HOLDER (1407.022.40)
Дополнительная информация
Количество
1
Примечание
ZN 2101001900
HOLDER AND COUNTER-HOLDER NOSE COVER (1407.022.60)
Дополнительная информация
Количество
2
Примечание
ZN 2101002200
HOLDER FOR ROD KEY (1407.022.30)
Дополнительная информация
Количество
1
Примечание
ZN 2101001600
