Вы можете войти на сайт, если вы зарегистрированы на одном из этих сервисов
Поздравляем вас с Днём Народного Единства! Сообщаем, что в связи с праздником АО «ОРЕХ» с 2 по 4 ноября не работает!
Автотехцентр “Балашиха” 1 ноября работает с 8:30 до 19:30, с 2 ноября работает в штатном режиме! Автотехцентр “Чёрная Грязь” работает в штатном режиме!
Уважаемые клиенты, цены на сайте действуют исключительно при заказе в интернет-магазине!
 
 САМОВЫВОЗ. При самовывозе заказа просим за 30 минут до приезда предупредить вашего персонального менеджера. Юр. лицам для получения заказа необходимо обращаться к менеджерам торгового зала.
	  Обращаем Ваше внимание, что обновление цен на товары в наличии происходит каждый день.
	 Срок действия счёта на оплату – три дня. Время нахождения товара под счёт в резерве – три дня. Цены на товары категории «под заказ» уточняйте у менеджеров.
 
 
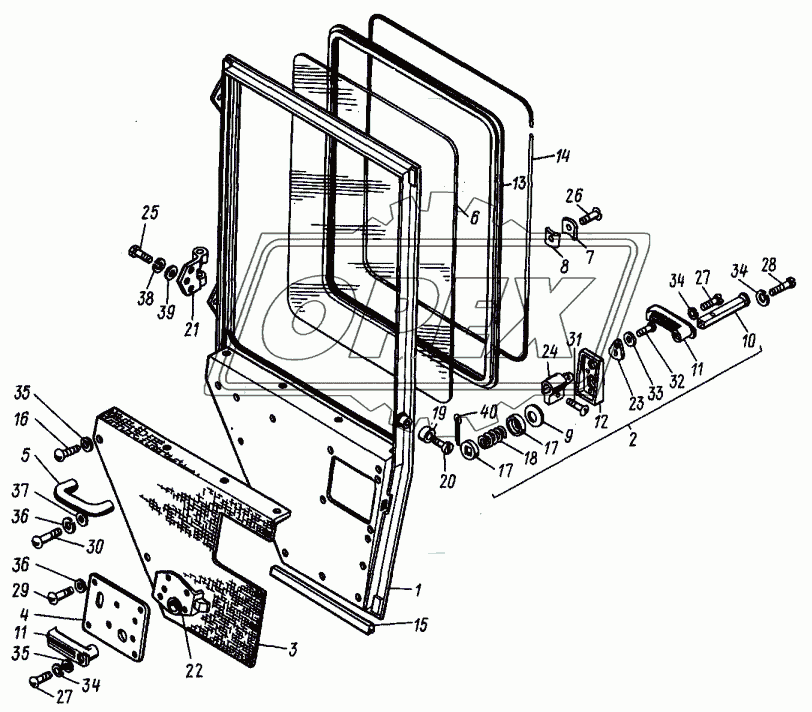
Автокаталог — Кабина (дверь кабины Т30.45.013А-03) Т-30A-80 - T-30A-80, Т-30А-80А2, T-30A-80A3, Т-30А-70 (5)
 
                                 
                            Дверь кабины (T30.45.013A-03)
Дополнительная информация
 
                                 
                            Каркас (T30.45.015A)
Дополнительная информация
 
                                 
                            Ручка (Т30.45.028Б)
Дополнительная информация
 
                                 
                            Панель (T30.45.087A-03)
Дополнительная информация
 
                                 
                            Крышка (T30.45.130A-03)
Дополнительная информация
 
                                 
                            Поручень (T30.45.132)
Дополнительная информация
 
                                 
                            Стекло (T30.45.152A)
Дополнительная информация
 
                                 
                            Пластина (A25.45.181)
Дополнительная информация
 
                                 
                            Пластина (A25.45.182)
Дополнительная информация
 
                                 
                            Шайба (T30.45.189)
Дополнительная информация
 
                                 
                            Стержень (Т30.45.207Б)
Дополнительная информация
 
                                 
                            Ручка (T30.45.212)
Дополнительная информация
 
                                 
                            Розетка (T30.45.269)
Дополнительная информация
 
                                 
                            Окантовка (T30.45.553-03)
Дополнительная информация
 
                                 
                            Шнур (T30.45.558-03)
Дополнительная информация
 
                                 
                            Уплотнитель (T30.45.569-03)
Дополнительная информация
 
                                 
                            Винт (T30.45.645)
Дополнительная информация
 
                                 
                            Шайба (T30.45.647)
Дополнительная информация
 
                                 
                            Пружина (T30.45.648)
Дополнительная информация
 
                                 
                            Ролик (T30.45.669)
Дополнительная информация
 
                                 
                            Винт (T30.45.675)
Дополнительная информация
 
                                 
                            Петля (T30.45.681)
Дополнительная информация
 
                                 
                            Замок (70-6708120)
Дополнительная информация
 
                                 
                            Крышка выключателя (70-6708231)
Дополнительная информация
 
                                 
                            Выключатель (70-6708300)
Дополнительная информация
 
                                 
                            Болт (4M8.6gx18.88.35.019)
Дополнительная информация
 
                                 
                            Винт (B.M3.6gx25.58.019)
Дополнительная информация
 
                                 
                            Винт (B.M5.6gx18.58.019)
Дополнительная информация
 
                                 
                            Винт (B.M5.6gx22.58.019)
Дополнительная информация
 
                                 
                            Винт (B.М6.6gx12.58.019)
Дополнительная информация
 
                                 
                            Винт (B.M6.6gx40.58.019)
Дополнительная информация
 
                                 
                            Винт (B.M6.6gx45.58.019)
Дополнительная информация
 
                                 
                            Заклепка (2,5x6.01.019)
Дополнительная информация
 
                                 
                            Шайба (2,5.02.019)
Дополнительная информация
 
                                 
                            Шайба (5Т.65Г.06)
Дополнительная информация
 
                                 
                            Шайба (5.02.019)
Дополнительная информация
 
                                 
                            Шайба (6Т.65Г.06)
Дополнительная информация
 
                                 
                            Шайба (6.02.019)
Дополнительная информация
 
                                 
                            Шайба (8Т.65Г.06)
Дополнительная информация
 
                                 
                            Шайба (8.02.019)
Дополнительная информация
 
                                 
                             
    