Вы можете войти на сайт, если вы зарегистрированы на одном из этих сервисов
Поздравляем вас с Днём Народного Единства! Сообщаем, что в связи с праздником АО «ОРЕХ» с 2 по 4 ноября не работает!
Автотехцентр “Балашиха” 1 ноября работает с 8:30 до 19:30, с 2 ноября работает в штатном режиме! Автотехцентр “Чёрная Грязь” работает в штатном режиме!
Уважаемые клиенты, цены на сайте действуют исключительно при заказе в интернет-магазине!
 
 САМОВЫВОЗ. При самовывозе заказа просим за 30 минут до приезда предупредить вашего персонального менеджера. Юр. лицам для получения заказа необходимо обращаться к менеджерам торгового зала.
	  Обращаем Ваше внимание, что обновление цен на товары в наличии происходит каждый день.
	 Срок действия счёта на оплату – три дня. Время нахождения товара под счёт в резерве – три дня. Цены на товары категории «под заказ» уточняйте у менеджеров.
 
 
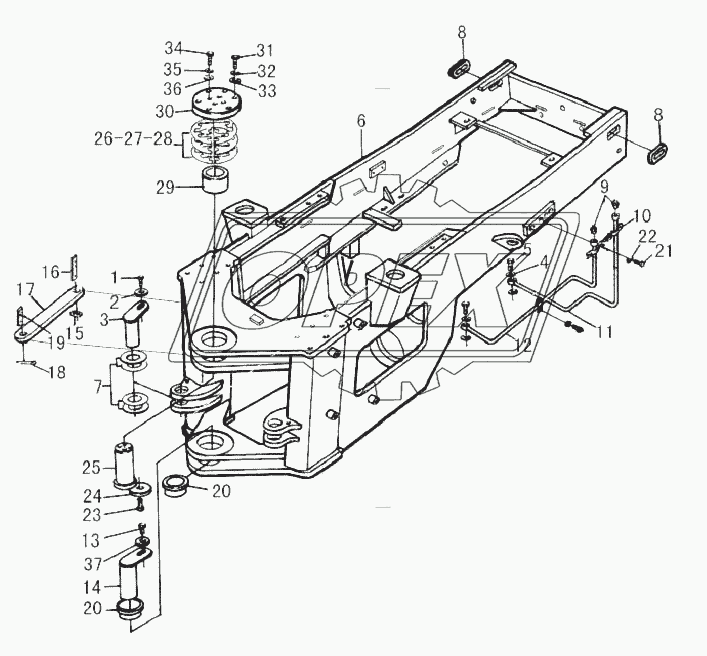
Автокаталог — REAR FRAME ASSEMBLY LG969 - LG969 (2009 г.) (75)
 
                                 
                            BOLT (4011000197)
Дополнительная информация
 
                                 
                            WASHER (4040000001)
Дополнительная информация
 
                                 
                            PIN LGB301-50d9x78Rx140 (4043000009)
Дополнительная информация
 
                                 
                            BOLT (29250000291)
Дополнительная информация
 
                                 
                            WASHER (29250000301)
Дополнительная информация
 
                                 
                            REAR FRAME (29260013981)
Дополнительная информация
 
                                 
                            SPACER GB303-50x90x1 (4043000032)
Дополнительная информация
 
                                 
                            RUBBER SLEEVE (29270000031)
Дополнительная информация
 
                                 
                            GREASE NIPPLE (4030000065)
Дополнительная информация
 
                                 
                            PLATE (29250000311)
Дополнительная информация
 
                                 
                            OIL TUBE (29270000041)
Дополнительная информация
 
                                 
                            OIL TUBE (29270000051)
Дополнительная информация
 
                                 
                            BOLT (4011000093)
Дополнительная информация
 
                                 
                            DOWN ARTICULATION PIN (29250000161)
Дополнительная информация
 
                                 
                            HOLDING RING (29270000081)
Дополнительная информация
 
                                 
                            REAR PIN OF MOUNT BAR (29270000091)
Дополнительная информация
 
                                 
                            MOUNT BAR (29270008911)
Дополнительная информация
 
                                 
                            SPLIT PIN GB91-8x80EpZn (4016000043)
Дополнительная информация
 
                                 
                            FRONT PIN OF MOUNT BAR (29270000121)
Дополнительная информация
 
                                 
                            BUSH (29250000171)
Дополнительная информация
 
                                 
                            SCREW (4014000024)
Дополнительная информация
 
                                 
                            WASHER (4015000035)
Дополнительная информация
 
                                 
                            BOLT (4011000197)
Дополнительная информация
 
                                 
                            DISC (29250000021)
Дополнительная информация
 
                                 
                            UP ARTICULATION PIN (29250000031)
Дополнительная информация
 
                                 
                            SPACER (29250000101)
Дополнительная информация
 
                                 
                            SPACER (29250000111)
Дополнительная информация
 
                                 
                            SPACER (29250000121)
Дополнительная информация
 
                                 
                            BUSH (29250000131)
Дополнительная информация
 
                                 
                            DISC (29250000141)
Дополнительная информация
 
                                 
                            BOLT GB5782-M12x50EpZn-8.8 (4011000064)
Дополнительная информация
 
                                 
                            WASHER (4015000026)
Дополнительная информация
 
                                 
                            WASHER (4015000168)
Дополнительная информация
 
                                 
                            BOLT GB5782-M16x90EpZn-8.8 (4011000069)
Дополнительная информация
 
                                 
                            WASHER GB93-16-65Mn (4015000098)
Дополнительная информация
 
                                 
                            WASHER (4015000181)
Дополнительная информация
 
                                 
                             
    